Site agence Novelty Nouvelle Aquitaine

NOVELTY - RUBLED-Profil-z22-frost

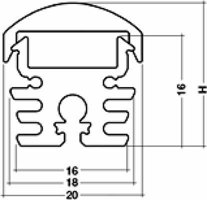
Profilé alu pour ruban LED en longueur de 2m, avec couvercle lentille Frost (30°, 60° ou 90°) bombé larg. 20mm

Propriétés techniques
  • Poids unitaire : 430 g/ml (profilé+couvercle+ruban)
Nous contacter

Vous avez un projet ou une question ?

Nos équipes sont prêtes à répondre à vos besoins et à concrétiser vos projets. Contactez votre agence locale ou laissez-nous un message, nous serons ravis de vous accompagner.

Contactez-nous